在新能源重卡銷量同比暴漲252%的行業浪潮下,電驅橋技術正快速從“可選”走向“標配”,而濰柴動力最新獲得的電驅橋專利,直指重型車輛輪端大輸出扭矩的行業痛點。
在“雙碳”戰略持續推進的背景下,商用車的電動化轉型已不是“選擇題”,而是“必答題”。曾經占據主流地位的中央驅動系統,因其機械部件多、傳動路徑長、能量損耗嚴重等先天缺陷,正被高度集成化的電驅橋技術加速替代。
電驅橋通過將電機、變速器、差速器等高度集成于車橋內部,取消傳動軸,實現動力“直驅”,系統效率可比中央驅動提升4%以上。
早年,中央驅動系統幾乎壟斷電動重卡的驅動方式,但這一格局正在悄然改變。電驅橋市場占比2025年正在快速提升,市場接受度遠超預期。有業內人士預測,未來三年,電驅橋將大規模替代中央驅動,成為電動重卡的主流技術路線。新能源重卡銷量暴漲成為電驅橋推廣的加速器。
電驅橋的競爭優勢源于其結構和性能的革命性突破。由于其結構更緊湊、傳動路徑短、機械接觸面少、潤滑系統統一,不僅節省底盤空間,還為電池布置提供更大靈活性。對于按里程收費的運營車輛而言,任何能提升效率的技術都直接關系到收益。
例如,零一汽車的“矩石2.0集成式電驅橋”系統綜合效率達到94%,比外掛電驅橋高出2%以上。相較于中央驅動車型,能實現百公里節電30度的能效突破。
除了更節能,電驅橋在自重與可靠性方面也優于中央驅動。
在電驅橋技術演進中,兩檔電驅橋的出現解決了單一速比難以兼顧重載爬坡與高速行駛的行業難題。
以漢德車橋的HDE13t油冷多擋電驅橋為例,其首創的 “雙檔位設計” ,既能滿足城市高速路況,又可應對山區復雜路況,實現“一橋多用”。
漢德車橋HDE11.5t單電機兩檔電驅橋配備的MUC控制器采用碳化硅材料,能夠支持整車800V的電壓。800V平臺相較于之前的500V平臺,充電速度更快,效率更高。這款單電機雙速電動軸設計的兩檔減速器,一檔適用于爬坡和重載,速比為63.88;而二檔則適用于高速行駛,速比為18.26。
在電驅橋技術領域,濰柴動力一直是積極的參與者和創新者。有數據顯示,今年以來,濰柴動力已新增專利授權1124個,顯示出持續的技術投入,展現出強勁的研發實力。
近日,濰柴動力新獲得一項發明專利授權,專利名為“電驅橋結構及具有其的車輛”,專利申請號為CN202510227567.0,授權日為2025年10月24日。
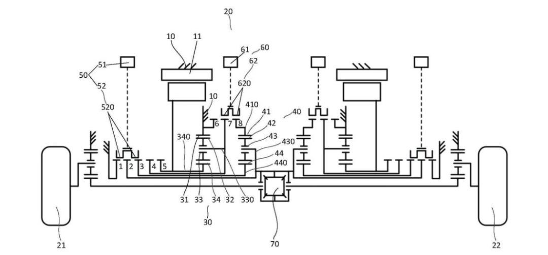
濰柴動力這項最新專利提供了一種創新的電驅橋結構解決方案。根據公開的專利摘要,這項發明的核心設計旨在解決重型電動車輛對超大扭矩的需求,其主要技術特點如下。
核心結構:在每個驅動輪側集成了兩套行星排機構(第一行星排和第二行星排)和兩套換擋組件。
關鍵創新:通過換擋組件的協同工作,使兩套行星排之間能夠形成四個傳動擋位。
解決的問題:這種多擋位設計能夠更好地調節電機的輸出扭矩和轉速,使驅動電機能更長時間地在高效區間工作,從而滿足重型車輛在起步、爬坡等工況下對輪端超大輸出扭矩的需求。
這項發明專利通過兩個行星排和四個擋位的創新設計,實現了更為精準和高效的動力分配。
與濰柴動力此前申請的同軸電驅橋專利相比,這項新專利在傳動結構和擋位控制方面有了明顯升級。此前濰柴動力申請的同軸電驅橋專利包含第一電機、第二電機、四個行星齒輪組、差速器和換擋機構。通過換擋滑套和切換元件組實現動力流路徑的切換。
隨著電驅橋市場需求的不斷擴大,全球主流廠商紛紛加快布局。
從全球視角來看,重卡電驅橋領域的競爭者可分為幾大陣營:快速崛起的第三方配套商、積極轉型的傳統制造商、自研電驅橋的重卡新勢力、主導高端市場的國際巨頭。
漢德車橋作為傳統制造商代表,截至2025年4月底,累計銷售各類商用車智能電驅橋已突破10萬臺。
未來三到五年,將是技術路線與市場格局定型的關鍵窗口期。唯有在效率、成本與可靠性上做到極致的玩家,才能在這場無聲的“橋”力賽中勝出。
隨著市場對高效物流的需求日益增長,電驅橋技術的競爭焦點正從“有無”轉向“精粗”。漢德車橋、東風德納等企業已實現電驅橋批量銷售,而濰柴動力的最新專利技術,展現了其在電驅橋高端技術領域的積累。
電驅橋這片巨大的增量市場,已成為各方角逐的新戰場。
在“雙碳”戰略持續推進的背景下,商用車的電動化轉型已不是“選擇題”,而是“必答題”。曾經占據主流地位的中央驅動系統,因其機械部件多、傳動路徑長、能量損耗嚴重等先天缺陷,正被高度集成化的電驅橋技術加速替代。

行業變革
早年,中央驅動系統幾乎壟斷電動重卡的驅動方式,但這一格局正在悄然改變。電驅橋市場占比2025年正在快速提升,市場接受度遠超預期。有業內人士預測,未來三年,電驅橋將大規模替代中央驅動,成為電動重卡的主流技術路線。新能源重卡銷量暴漲成為電驅橋推廣的加速器。
技術優勢
電驅橋的競爭優勢源于其結構和性能的革命性突破。由于其結構更緊湊、傳動路徑短、機械接觸面少、潤滑系統統一,不僅節省底盤空間,還為電池布置提供更大靈活性。對于按里程收費的運營車輛而言,任何能提升效率的技術都直接關系到收益。
例如,零一汽車的“矩石2.0集成式電驅橋”系統綜合效率達到94%,比外掛電驅橋高出2%以上。相較于中央驅動車型,能實現百公里節電30度的能效突破。

兩檔電驅橋的突破
在電驅橋技術演進中,兩檔電驅橋的出現解決了單一速比難以兼顧重載爬坡與高速行駛的行業難題。
以漢德車橋的HDE13t油冷多擋電驅橋為例,其首創的 “雙檔位設計” ,既能滿足城市高速路況,又可應對山區復雜路況,實現“一橋多用”。

濰柴動力的技術布局
在電驅橋技術領域,濰柴動力一直是積極的參與者和創新者。有數據顯示,今年以來,濰柴動力已新增專利授權1124個,顯示出持續的技術投入,展現出強勁的研發實力。
近日,濰柴動力新獲得一項發明專利授權,專利名為“電驅橋結構及具有其的車輛”,專利申請號為CN202510227567.0,授權日為2025年10月24日。

專利技術解讀
濰柴動力這項最新專利提供了一種創新的電驅橋結構解決方案。根據公開的專利摘要,這項發明的核心設計旨在解決重型電動車輛對超大扭矩的需求,其主要技術特點如下。
核心結構:在每個驅動輪側集成了兩套行星排機構(第一行星排和第二行星排)和兩套換擋組件。
關鍵創新:通過換擋組件的協同工作,使兩套行星排之間能夠形成四個傳動擋位。
解決的問題:這種多擋位設計能夠更好地調節電機的輸出扭矩和轉速,使驅動電機能更長時間地在高效區間工作,從而滿足重型車輛在起步、爬坡等工況下對輪端超大輸出扭矩的需求。
創新價值
這項發明專利通過兩個行星排和四個擋位的創新設計,實現了更為精準和高效的動力分配。
與濰柴動力此前申請的同軸電驅橋專利相比,這項新專利在傳動結構和擋位控制方面有了明顯升級。此前濰柴動力申請的同軸電驅橋專利包含第一電機、第二電機、四個行星齒輪組、差速器和換擋機構。通過換擋滑套和切換元件組實現動力流路徑的切換。
市場競爭格局
隨著電驅橋市場需求的不斷擴大,全球主流廠商紛紛加快布局。
從全球視角來看,重卡電驅橋領域的競爭者可分為幾大陣營:快速崛起的第三方配套商、積極轉型的傳統制造商、自研電驅橋的重卡新勢力、主導高端市場的國際巨頭。
漢德車橋作為傳統制造商代表,截至2025年4月底,累計銷售各類商用車智能電驅橋已突破10萬臺。
未來三到五年,將是技術路線與市場格局定型的關鍵窗口期。唯有在效率、成本與可靠性上做到極致的玩家,才能在這場無聲的“橋”力賽中勝出。
隨著市場對高效物流的需求日益增長,電驅橋技術的競爭焦點正從“有無”轉向“精粗”。漢德車橋、東風德納等企業已實現電驅橋批量銷售,而濰柴動力的最新專利技術,展現了其在電驅橋高端技術領域的積累。
電驅橋這片巨大的增量市場,已成為各方角逐的新戰場。
